來源:天氏庫力 發布日期
2025-11-28 瀏覽:
塑料薄膜與薄片的直角撕裂性能是評估其力學性能和適用性的關鍵指標。直角撕裂測試通過測量材料在直角口處抵抗撕裂擴展所需的能力,來評估其抗撕裂性能。這種測試方法模擬實際應用中材料邊緣或缺口處受到應力集中時抵抗撕裂破壞的能力,對于軟質包裝材料、防水卷材和工程薄膜等產品的質量控制和性能評估具有重要意義。

塑料薄片
目前塑料直角撕裂性能測試主要遵循以下國際主流標準:
1、ISO 6383-1:塑料薄膜和薄片——直角撕裂性能的測定
該標準采用褲形撕裂法,適用于厚度≤1mm的薄膜和片材。該方法通過測量已存在切口的撕裂擴展阻力,提供穩定的撕裂過程,具有良好的結果再現性。
2、ASTM D1004:塑料薄膜和薄片的初始撕裂強度測試方法
此標準使用直角切口法,重點測量材料的初始撕裂強度。試樣帶有標準化直角切口,模擬實際使用中從缺口處開始撕裂的情況。
3、GB/T 16578.1-2008:塑料薄膜和薄片耐撕裂性能的測定
該標準與ISO 6383-1技術等效,同樣采用褲形撕裂法,適用于國內塑料薄膜和薄片產品的質量檢測與性能評估。
直角撕裂測試主要包含兩種方法:褲形撕裂法測量材料抵抗撕裂擴展的能力,重點關注撕裂過程的穩定性;直角切口法則側重于測量材料初始撕裂強度,模擬材料從缺口處開始撕裂的實際情況。本文主要講述褲型撕裂法的測試方法及要求。
測試需要使用符合標準的拉伸試驗機,類似于GB/T 1040.3-2006所規定的。應能滿足恒定的試驗速度要求,通常為200mm/min或250mm/min。設備需配備合適的力值傳感器,并采用氣動夾持方式以保證試樣受力均勻。同時需要配備精度達到0.01mm的厚度測量儀器,用于精確測量試樣直角口處的厚度。

TSKL-200D單柱拉力機
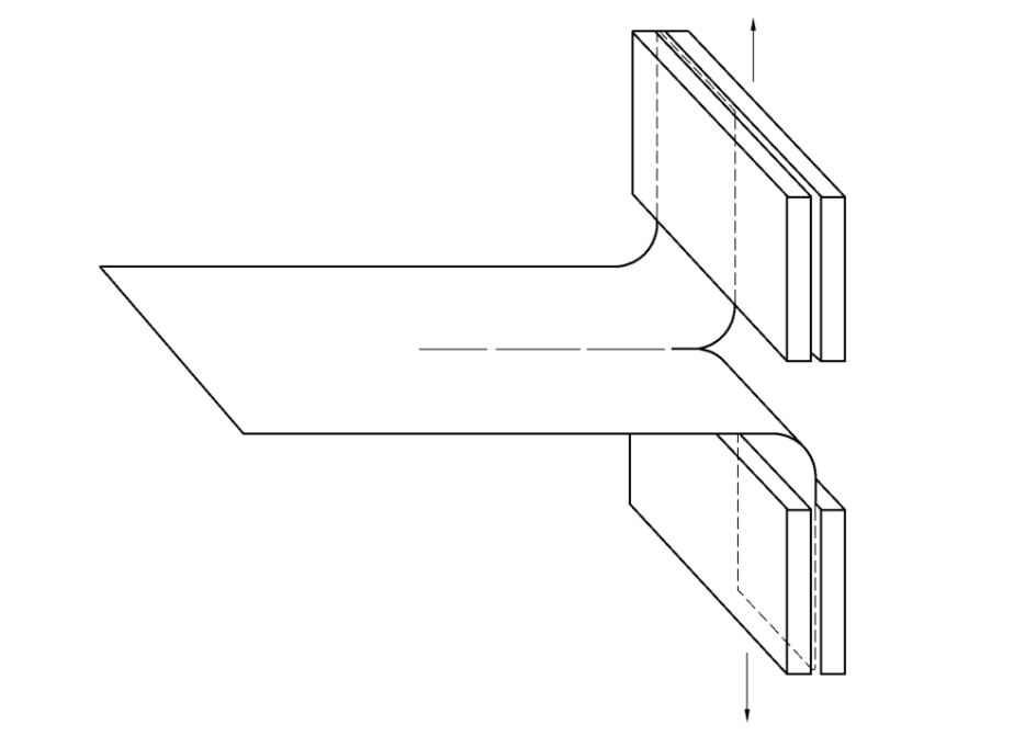
試樣制備需嚴格遵循標準規定。對于褲形撕裂法,試樣尺寸為50mm×150mm,中間有約75mm的預切口;直角切口法則使用特定形狀的直角切口試樣。取樣時應沿材料的縱向和橫向分別取樣,每個方向試樣數量不少于5個。試樣直角口處應無裂縫及傷痕,以免影響測試結果的準確性。

試樣
測試前試樣需在標準環境(23±2℃,50±10%RH)下進行狀態調節,調節時間至少4小時。測試時首先精確測量試樣直角口處的厚度,然后將試樣裝夾在試驗機夾具上,確保受力方向與試樣方向垂直。在規定的試驗速度下進行測試,記錄試驗過程中的負荷-位移曲線和最大負荷值。

試樣在夾具中的固定方法
根據不同的測試方法,結果計算有所差異。褲形撕裂法應舍棄撕裂時未切口長度的前20mm以及最后5mm的負荷值,取其余50mm的未切口長度上撕裂負荷的平均值。當圖形的這部分為波浪平臺時,通過波浪曲線劃一條平行于橫軸的中線。讀取這一中線所對應的負荷,記作試樣的撕裂力。
按公式T_t = F/d計算撕裂強度,其中T_t為撕裂強度(kN/m),F為平均撕裂力(N),d為試樣厚度(mm)。直角切口法則可以直接報告最大撕裂力(N),或計算單位厚度的撕裂強度。

曲線平穩部分的負荷-時間圖
試驗結果以所有試樣直角撕裂負荷或直角撕裂強度的算術平均值表示,有效數字取二位或按產品標準規定。需要分別報告縱向和橫向的測試結果,并計算標準偏差。對于異常數據,如從夾具中滑脫的試樣結果應予剔除。
直角撕裂測試在包裝行業、建筑材料、醫療用品等領域有著廣泛應用。通過這項測試,生產企業可以評估產品的耐用性能,優化材料配方和加工工藝,確保產品符合設計要求和使用需求。隨著材料科學的進步,直角撕裂測試技術正向著自動化、高精度測量和標準化統一的方向發展,將在材料科學和工程領域持續發揮重要作用。
正確選擇測試方法、嚴格執行標準要求、準確分析測試結果,對于保證產品質量和推動行業技術進步具有重要意義。在實際應用中,應根據材料特性、產品要求和測試目的選擇合適的測試方法,確保測試結果的準確性和可比性。
【本文標簽】:塑料,直角,撕裂,性能,測試,方法,、,標準,與,應用
【責任編輯】:天氏庫力 版權所有:http://m.65874.cn/轉載請注明出處